| |
| 联系我们 |
无锡市昊睿传动机械有限公司
地址: 无锡市惠山区阳山工业园恒通西路7号
联系人: 龚先生
手机: 13255215999
电话: 0510-88221152
传真: 0510-88227292
网址: www.haoruipc.com |
|
|
|
 |
|
产品中心 PRODUCTS |
您当前位置 >> 产品中心 |
|
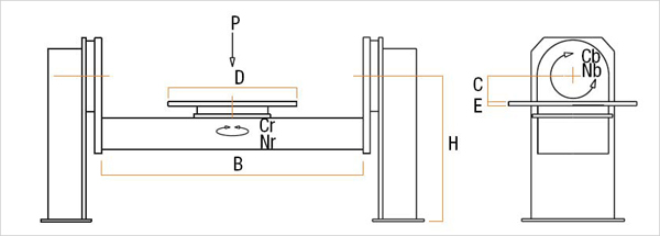
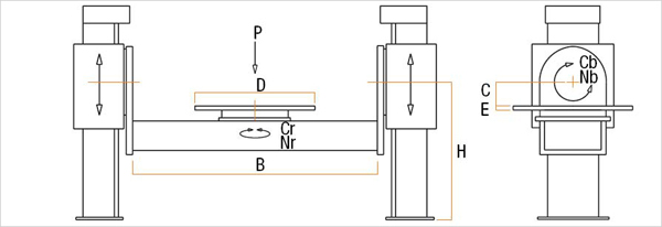
| 双立柱式焊接变位机 | 双立柱式焊接变位机是集翻转(或倾斜)和回转功能于一身的变位机械。翻转和回转分别由两根轴驱动,夹持工件的工作台除能绕自身轴线回转外,还能绕另一根轴做倾斜或翻转,它可以将焊件上各种位置的焊缝调整到水平的或“船型”的易焊位置施焊,适用于框架型,箱型,盘型和其他非长型工件的焊接,如减速器的箱体,机座,齿轮,法兰,封头等。更拥有高度调节装置系统。
|
|
|
|
| 技术参数: |
PM
|
P
t
|
Cb
daN*m
|
Nb
min-1
|
Cr
daN*m
|
Nr
min-1
|
D
mm
|
E
mm
|
B
mm
|
C
mm
|
H
mm
|
PM-F5
|
5
|
1500
|
0,60
|
600
|
0,90
|
1150
|
30
|
3500
|
325
|
1900
|
PM-G5
|
10
|
3000
|
0,50
|
900
|
0,80
|
1300
|
40
|
4000
|
350
|
2200
|
PM-H5
|
16
|
4900
|
0,45
|
1500
|
0,70
|
1450
|
40
|
4500
|
375
|
2450
|
PM-I5
|
25
|
8000
|
0,40
|
2400
|
0,50
|
1600
|
50
|
5000
|
400
|
2750
|
PM-J5
|
40
|
13000
|
0,35
|
4000
|
0,40
|
1800
|
50
|
5500
|
430
|
3000
|
PM-K5
|
63
|
20000
|
0,30
|
6500
|
0,30
|
1980
|
60
|
6000
|
460
|
3300
|
PM-L5
|
100
|
32000
|
0,25
|
10000
|
0,25
|
2250
|
60
|
6500
|
500
|
3600
|
PM-M5
|
160
|
52000
|
0,20
|
16000
|
0,20
|
2480
|
80
|
7000
|
550
|
3900
|
|
|
|
| 技术参数: |
PME
|
P
t
|
Cb
daN*m
|
Nb
min-1
|
Cr
daN*m
|
Nr
min-1
|
V
m*min-1
|
D
mm
|
E
mm
|
B
mm
|
C
mm
|
H
min mm
|
H
max mm
|
PME-F5
|
5
|
1500
|
0,60
|
600
|
0,90
|
1,5
|
1150
|
30
|
3500
|
325
|
1200
|
2200
|
PME-G5
|
10
|
3000
|
0,50
|
900
|
0,80
|
1,5
|
1300
|
40
|
4000
|
350
|
1300
|
2400
|
PME-H5
|
16
|
4900
|
0,45
|
1500
|
0,70
|
1,5
|
1450
|
40
|
4500
|
375
|
1400
|
2600
|
PME-I5
|
25
|
8000
|
0,40
|
2400
|
0,50
|
1,5
|
1600
|
50
|
5000
|
400
|
1500
|
2900
|
PME-J5
|
40
|
13000
|
0,35
|
4000
|
0,40
|
1,5
|
1800
|
50
|
5500
|
430
|
1600
|
3300
|
|
| 上一页:头尾式焊接变位机 下一页:L型变位机 |  |
|
|
|